Develop sensing circuit prototype

Development board should provide precise current measurement of load to microcontroller unit. Maximum allowed current is 5A, and for that current full ADC range must be used. Circuit should provide necessary reference voltages for proper functionality of all used components, as well as voltage reference for microcontorllers ADC.
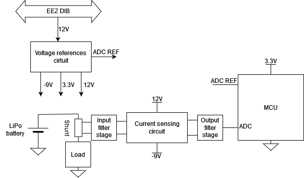
Block diagram of circuit is shown in picture below:

Development board will be connected to EEZ DIB bus, which specification is show on this link . Voltage references circuit will provide stable voltage references of -9 V, 12 V, 3.3 V and ADC reference voltage.
Filtering stages will remove noise from frequencies which are out of scope for current sensing circuit, where Input filter stage will be differential low pass filter, and Output filter stage will provide necessary impedance for ADC as well as filtering unwanted noise.
Current sensing circuit will provide voltage for ADC which corresponds to current driven by the Load. When load has no current consumption, voltage on input of ADC will be 0 V, where voltage on ADC for 5 A of current consumption will be 3.3 V.



